Меню |
|---|
Реклама |
|---|
Активные участники |
|---|
Часы |
|---|
Поиск |
|---|
Ссылка на наш сайт |
|---|
Кто сейчас на конференции |
|---|
Всего 6 посетителей :: 0 зарегистрированных, 0 скрытых и 6 гостей
Сейчас этот форум просматривают: нет зарегистрированных пользователей и 6 гостей |
Ссылки |
|---|
|
| Автор |
Сообщение |
|
Dimon123
|
|
| Не в сети |
| Старшина 2 статьи |
Зарегистрирован: 01 фев 2017, 20:38 Сообщения: 129
Имя: Дмитрий С
Техника: Yamaha wave venture 700
Откуда: Новосибирск
Благодарил (а): 3 раза Поблагодарили: 2 раза
|
|
да парни че там гадать ) ? Бендикс или работает или нет , смотри на шлицы стартера может они изношены просто и посмотри втулку в лобовине латунную если она живая меняй Бендикс и катайся ! Там больше нечему ломаться !
|
|
| Вернуться к началу |
|
 |
|
Евгений Владимирович
|
|
| Не в сети |
| Старшина 2 статьи |
 |
Зарегистрирован: 09 янв 2017, 09:10 Сообщения: 107
Имя: Евгений
Техника: GP Ямаха 760 Тайга 500
Откуда: Екатеринбург
Благодарил (а): 7 раз
|
|
проверить втулку латунную в крышке имеешь ввиду?
|
|
| Вернуться к началу |
|
 |
|
Dimon123
|
|
| Не в сети |
| Старшина 2 статьи |
Зарегистрирован: 01 фев 2017, 20:38 Сообщения: 129
Имя: Дмитрий С
Техника: Yamaha wave venture 700
Откуда: Новосибирск
Благодарил (а): 3 раза Поблагодарили: 2 раза
|
|
да ! Может её там вообще нет а она есть ! Видиш суслика ? Нет а он есть !
|
|
| Вернуться к началу |
|
 |
|
Евгений Владимирович
|
|
| Не в сети |
| Старшина 2 статьи |
 |
Зарегистрирован: 09 янв 2017, 09:10 Сообщения: 107
Имя: Евгений
Техника: GP Ямаха 760 Тайга 500
Откуда: Екатеринбург
Благодарил (а): 7 раз
|
|
ясно, гляну, ну по всем признакам я туда первый лезу. до меня вроде как крышку не откручивали))
|
|
| Вернуться к началу |
|
 |
|
Евгений Владимирович
|
|
| Не в сети |
| Старшина 2 статьи |
 |
Зарегистрирован: 09 янв 2017, 09:10 Сообщения: 107
Имя: Евгений
Техника: GP Ямаха 760 Тайга 500
Откуда: Екатеринбург
Благодарил (а): 7 раз
|
|
| Вернуться к началу |
|
 |
|
Евгений Владимирович
|
|
| Не в сети |
| Старшина 2 статьи |
 |
Зарегистрирован: 09 янв 2017, 09:10 Сообщения: 107
Имя: Евгений
Техника: GP Ямаха 760 Тайга 500
Откуда: Екатеринбург
Благодарил (а): 7 раз
|
|
| Вернуться к началу |
|
 |
|
Anatoliy11
|
|
| Не в сети |
| Контр-адмирал |
 |
Зарегистрирован: 30 июн 2016, 09:13 Сообщения: 2628
Имя: Анатолий
Техника: Мотороллер с фаркопом
Откуда: Харьков обл.
Благодарил (а): 30 раз Поблагодарили: 156 раз
|
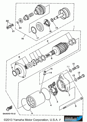
В Тюмени люди уже сезон открыли а ты ищи детальку. Купиш (бендикс) будет и деталька.  А с какого мануала картинка с бендиксом в разборе?
_________________ "Лучше пару раз по разу:- чем ни разу много раз")) настройка карбюраторов ссылка нижеhttp://www.pwctoday.com/showthread.php?t=62278
Последний раз редактировалось Anatoliy11 24 апр 2017, 19:17, всего редактировалось 2 раза.
|
|
| Вернуться к началу |
|
 |
|
Евгений Владимирович
|
|
| Не в сети |
| Старшина 2 статьи |
 |
Зарегистрирован: 09 янв 2017, 09:10 Сообщения: 107
Имя: Евгений
Техника: GP Ямаха 760 Тайга 500
Откуда: Екатеринбург
Благодарил (а): 7 раз
|
|
прикольно им. но что бы на воде потом не ипаться, надо технику подготовить. а вот покататься я подожду хорошую погоду. у нас сегодня дождь фигачит. мануал- просто интернет. нет у меня мануала на русском языке, все что находил на английском.
|
|
| Вернуться к началу |
|
 |
|
Dimon123
|
|
| Не в сети |
| Старшина 2 статьи |
Зарегистрирован: 01 фев 2017, 20:38 Сообщения: 129
Имя: Дмитрий С
Техника: Yamaha wave venture 700
Откуда: Новосибирск
Благодарил (а): 3 раза Поблагодарили: 2 раза
|
Евгений Владимирович писал(а): прикольно им. но что бы на воде потом не ипаться, надо технику подготовить. а вот покататься я подожду хорошую погоду. у нас сегодня дождь фигачит. мануал- просто интернет. нет у меня мануала на русском языке, все что находил на английском. https://www.megazip.ru/zapchasti-dlya-g ... -304460786Покупай
|
|
| Вернуться к началу |
|
 |
|
Anatoliy11
|
|
| Не в сети |
| Контр-адмирал |
 |
Зарегистрирован: 30 июн 2016, 09:13 Сообщения: 2628
Имя: Анатолий
Техника: Мотороллер с фаркопом
Откуда: Харьков обл.
Благодарил (а): 30 раз Поблагодарили: 156 раз
|
Dimon123 писал(а): Евгений Владимирович писал(а): прикольно им. но что бы на воде потом не ипаться, надо технику подготовить. а вот покататься я подожду хорошую погоду. у нас сегодня дождь фигачит. мануал- просто интернет. нет у меня мануала на русском языке, все что находил на английском. https://www.megazip.ru/zapchasti-dlya-g ... -304460786Покупай И нтересно а с какого теста оно слеплено? Игорь прав на все 100!!! Ссыль на вёсла дать 
_________________ "Лучше пару раз по разу:- чем ни разу много раз")) настройка карбюраторов ссылка нижеhttp://www.pwctoday.com/showthread.php?t=62278
|
|
| Вернуться к началу |
|
 |
|
Евгений Владимирович
|
|
| Не в сети |
| Старшина 2 статьи |
 |
Зарегистрирован: 09 янв 2017, 09:10 Сообщения: 107
Имя: Евгений
Техника: GP Ямаха 760 Тайга 500
Откуда: Екатеринбург
Благодарил (а): 7 раз
|
|
в чем ваш стёб? По поводу качества что ли? Дак и у б/у не проверишь качество. Или на зуб, как раньше деньги проверяли. Я думаю мгновенно не умрет, а будет глючить, понятно в чем дело.
|
|
| Вернуться к началу |
|
 |
|
Anatoliy11
|
|
| Не в сети |
| Контр-адмирал |
 |
Зарегистрирован: 30 июн 2016, 09:13 Сообщения: 2628
Имя: Анатолий
Техника: Мотороллер с фаркопом
Откуда: Харьков обл.
Благодарил (а): 30 раз Поблагодарили: 156 раз
|
|
На форуме люди предлагают б/у и новые запчасти в которых уверены, и занимаются этим професионально. Если я тебе фуфло толкну а ты отпишишся сюда и кто у меня что возмет потом). Надо мне это? Предложения могут быть разные но и предупредят о качестве товара и цена сам понимаеш. Или новый орегинал заказывай!!!! Охота 20 дней локти кусать,- в перёд((!
_________________ "Лучше пару раз по разу:- чем ни разу много раз")) настройка карбюраторов ссылка нижеhttp://www.pwctoday.com/showthread.php?t=62278
Последний раз редактировалось Anatoliy11 26 апр 2017, 10:07, всего редактировалось 1 раз.
|
|
| Вернуться к началу |
|
 |
|
Евгений Владимирович
|
|
| Не в сети |
| Старшина 2 статьи |
 |
Зарегистрирован: 09 янв 2017, 09:10 Сообщения: 107
Имя: Евгений
Техника: GP Ямаха 760 Тайга 500
Откуда: Екатеринбург
Благодарил (а): 7 раз
|
Anatoliy11 писал(а): На форуме люди предлагают б/у и новые запчасти в которых уверены, и занимаются этим професионально. Если я тебе фуфло толкну а ты отпишишся сюда и кто у меня что возмет потом). Надо мне это? Предложения могут быть разные но и предупредят о качестве товара и цена сам понимаеш. Или новый орегинал заказывай!!!! Охота 20 дней локти кусать, перёд((! Нашел бендикс не далеко от себя в Челябинске, заказал. Приедет буду пробовать.
|
|
| Вернуться к началу |
|
 |
Кто сейчас на конференции |
Сейчас этот форум просматривают: нет зарегистрированных пользователей и 6 гостей |
|
|
Вы не можете начинать темы Вы не можете отвечать на сообщения Вы не можете редактировать свои сообщения Вы не можете удалять свои сообщения Вы не можете добавлять вложения
|
|